衡阳市初中入学报名系统网址:https://www.hhyedu.com.cn/
衡阳市义务教育入学服务平台报名操作流程2025
➤报名流程:
第一步:进入衡阳市教育局,点击进入
第二步:选择义务教育入学入口
第三步:进行注册登录。
第四步:登录完成后会进入这个界面,家长可以选择“开始报名”,进行报名流程。
第五步:选择要给孩子报名的区域。
第六步:选择好报名区县后,按照选项,正确选择好需要报名的学校,以及居住地址用以进行审核。
注意:需要学生身份证号进行验证


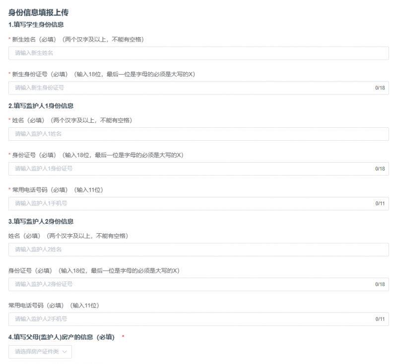
第七步:完成选择后就会出现身份信息填报,家长依旧按照已有的信息如实填写即可。

第八步:完成信息填报后,就可以选择提交。
第九步:完成报名后,家长将可以通过页面查看报名审核状态,但是无法再进行修改填报信息
注意:
1、请家长(监护人)认真填写并核对报名信息,对填报错误、虚假信息影响小孩正常入学的,自行承担责任。
2、请家长认准官方平台公开发布的招生政策,切勿被虚假宣传所欺骗,影响小孩正常入学。
3、信息填报后,请在页面最下方点击"保存",确定信息无误后,请在页面下方点击"提交";如需修改已填报信息,请点击"编辑"; 重要提示:信息提交后,报名信息不能编辑。